PDT3A Engine Honda Piston Repair Parts

Are you working on a pump that fails to keep a steady flow or loses pressure under load? Many technicians face this problem, and the cause often points to worn or damaged piston components. This page explains how PDT3A Engine Honda Piston Repair Parts help restore performance, prevent breakdowns, and keep your Wacker Neuson diaphragm pump running the way you expect. You will find clear guidance, part details, and tips that help you choose the right components with confidence.
Read More

Why the Right PDT3A Engine Honda Piston Matters

The piston in a Honda GX120UT2QX2 engine does a simple job: it creates the force that keeps your pump working. When the piston wears out, the pump loses strength. It may shake, stall, or stop priming. A correct replacement part keeps the engine durable, steady, and efficient. A piston that fits your PDT3A pump must match Honda’s specifications. This includes size, shape, and materials that handle heat and friction. Using the right fit prevents early wear and reduces repair costs later.

Common Signs You Need a New PDT3A Engine Honda Piston

 Look for these issues when diagnosing pump trouble: • Low compression and weak output • Hard starting • Excess smoke from the exhaust • Rapid oil loss • Knocking or tapping sounds in the engine These signs show that the piston or ring set may be worn. A quick inspection helps you plan the right repair path. PDT3A Engine Honda gx120ut2qx2 Repair Parts You May Need  Many customers search for related parts while replacing a piston. Below is a simple list of common items used during a piston rebuild:
  • Piston rings • Wrist pin • Piston clips • Cylinder gasket • Oil seal • Air filter elements • Spark plug
Replacing these parts together can extend the life of your engine and reduce downtime.

Part Fit and Compatibility Notes

Your piston must match the Honda GX120UT2QX2 spec used in the Wacker Neuson PDT3A Diaphragm Pump. Make sure the part number matches your pump’s engine code. A small mismatch leads to difficult installation and early engine failure. If you want a quick overview of common PDT3A components, you may find the Wacker Neuson Diaphragm Pump Repair Parts pages helpful. For example, you can review related parts here: • Visit the Wacker Neuson Water Pumps collection for broader pump categories. • See more repair components within the Wacker Neuson PDT3A Diaphragm Pump Parts section. These internal pages help you confirm part numbers, view diagrams, and compare options before buying.

How PDT3A Engine Honda Piston Parts Improve Pump Operation

A fresh piston helps restore proper compression. When compression returns to the right level, the pump engine produces smoother output. This leads to:
  • More stable pump cycles • Easier starts • Better fuel use • Reduced vibration • Longer engine life
Your diaphragm pump will handle tough job sites, dirty water, and long run times with fewer interruptions. Why Compression Matters for a Diaphragm Pump A diaphragm pump depends on strong, steady engine power. If compression is weak, the pump cannot maintain consistent motion. Water output becomes unstable. You may see surging, slow flow, or failure to prime. A good piston solves this by restoring proper internal pressure.

What to Check Before Ordering Piston Parts Before you order new parts, confirm a few simple details:

  1. Engine Model: Look for “GX120UT2QX2” on the engine label.
  2. Pump Model: Confirm your pump is the Wacker Neuson PDT3A.
  3. Cylinder Condition: If the cylinder is scratched, you may need honing or replacement.
  4. Tools Required: Be sure you have basic hand tools, a torque wrench, and clean work space.
  5. Service Manual: Have diagrams ready if you are new to small-engine repair.
This checklist helps reduce mistakes and ensures a smooth repair process.

Step-by-Step Overview: Installing PDT3A Engine Honda Piston Parts

Below is a simple overview of the piston replacement process. This description helps you understand the work before you begin.
  1. Remove the Engine Head
Take off the shroud, spark plug, and cylinder head. Keep bolts organized so reassembly is easier.
  1. Remove the Old Piston
Slide out the wrist pin and remove the piston from the connecting rod. Inspect the rod for wear. Look at the cylinder wall for scoring.
  1. Clean the Area Wipe down the surfaces. Remove carbon build-up from the head and valves. Make sure no debris falls inside the engine.
  2. Install Rings and New Piston
Place the rings in the correct order. Slide the new piston onto the connecting rod and secure it with clips.
  1. Reassemble the Engine Put the cylinder head, gaskets, and covers back in place. Tighten bolts to Honda’s recommended torque settings.
  2. Test the Engine Start the pump and listen for smooth operation. Check for leaks and unusual sounds. Let the pump run for a few minutes to seat the new parts.Benefits of Buying from Ken’s Distributing Ken’s Distributing provides trusted parts for contractors, repair shops, and pump owners. Customers choose this store because:
  • Parts match factory specifications • Shipping is fast • Product pages are clear and easy to use • Staff members understand pump systems and engines
This level of support helps you finish repairs without confusion.

Frequently Asked Questions About PDT3A Engine Honda Piston Parts

How long does a piston last?

A piston lasts many years under normal use. Heavy-duty work, poor lubrication, and overheating shorten its life.

Do I need to replace rings when I replace the piston?  Yes. Rings wear with the piston. New rings help restore sealing and performance. Can I replace a piston without removing the engine?  Most repairs are easier when the engine is removed. You get clearer access and a cleaner work area. How do I know if the cylinder is damaged?  Look for scratches, grooves, or discoloration. If the cylinder is rough, compression may remain low even with a new piston.

Final Thoughts

 Choosing the correct PDT3A Engine Honda Piston restores power, reduces downtime, and protects your investment. With the right parts and clear steps, you can complete the repair with confidence and return your Wacker Neuson pump to reliable service.

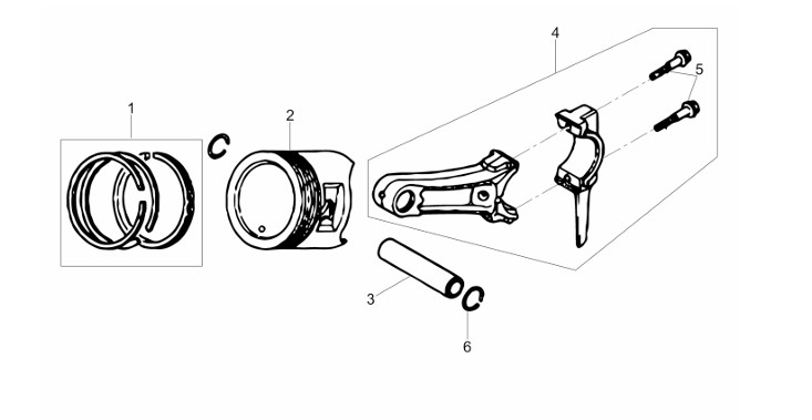
PDT3A Engine Honda Piston Exploaded Parts

PDT3A Engine Honda Piston Repair Parts

Item Item no. Description Information Pc. Unit
1 5100028594 Piston ring set 1 pc
2 5000213405 Piston 1 pc
3 5000071008 Piston pin 1 pc
4 5000209799 Connecting rod 1 pc
5 5000071007 Screw / M7 x 35 2 pc
6 5000081751 Retaining ring 2 pc